
Ersatzteil
DIANA Luftgewehr
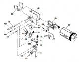
Modell 460 MagnumT06 (Unterhebelspanner)
Sicherungsschieber
-montiert mit Sicherungshebel + Sicherungsindexfeder
-passend für Modell 460Mag.T06
Teilenummern
121 + 122 + 123

Diesen Artikel haben wir am 31.08.2025 in unseren Katalog aufgenommen.