>Stützring< DIANA 460 MagnumT06

>Stützring< DIANA 460 MagnumT06
4,95 €
inkl. 19 % MwSt. zzgl. Versandkosten
In den Warenkorb
Art.Nr.: Diana460Mag.T06/56 (30365300)
Hersteller: DIANA
Mehr Artikel von: DIANA



  • Details
  • Mehr Bilder
  • Hersteller Informationen

Produktbeschreibung


 

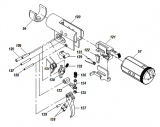
Ersatzteil

DIANA Luftgewehr

Modell 460 MagnumT06 (Unterhebelspanner)
 

Stützring
-passend für Modell 460Mag.T06


 

Teilenummer 56



>Stützring< DIANA 460 MagnumT06
>Stützring< DIANA 460 MagnumT06

Hersteller Informationen:

Kontakt Hersteller
DIANA Mayer & Grammelspacher GmbH & Co. KG
Karlstraße 34
76437 Rastatt
Germany

+49 (0) 2938 97839 - 0
info@diana-airguns.de
Kontakt EU verantwortliche Person
DIANA Verwaltungs-GmbH
Karlstraße 34
76437 Rastatt
Germany

+49 (0) 2938 97837 - 60
info@diana-airguns.de

Diesen Artikel haben wir am 31.08.2025 in unseren Katalog aufgenommen.

Übersicht   |   Artikel 16 von 16 in dieser Kategorie« Erster   |  « vorheriger   |  nächster »   |  Letzter »
Kategorien
Schnellkauf

Bitte gib die Artikelnummer aus unserem Katalog ein.

Willkommen zurück!
Hersteller
Versandland