
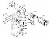
Ersatzteil
DIANA Luftgewehr
Modell 48T06 (Seitenspanner)
Schloss
-komplett
-passend für Ausführung Modell 48T05 (zum Umbau auf T06)
-passend für Modell 48T06
Teilenummern
56 + 57 + 120 - 139
.jpg)
Teilenummer aus DIANA 48 Ersatzteileliste: 19a
Diesen Artikel haben wir am 06.05.2025 in unseren Katalog aufgenommen.