
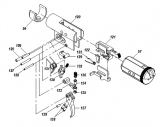
Ersatzteil
DIANA Luftgewehr
Modell 48T06 (Seitenspanner)
Sicherungsschieber
-montiert mit Sicherungshebel + Sicherungsindexfeder
-passend für Modell 48T06
Teilenummern
121 + 122 + 123
.jpg)
Diesen Artikel haben wir am 31.08.2025 in unseren Katalog aufgenommen.